Digital Explorers' Diary #50
Today: a new format for this week with a selection of the top news in the immersive industry!
Welcome to the Digital Explorers' Diary #50!
A curated collection of thought-provoking topics about interactive technologies, AI, web3, sense-making, entrepreneurship, and psychology.
This week, I’m taking my own advice of re-inventing myself, so instead of an article, here is a selection of the most impactful news of the last few weeks in the immersive industry, with a short insight from me. Let’s go!
Healthcare
Virtual Reality might be a promising tool for anorexia treatment. Remember: VR is a very immersive tool that seems to help patients get familiar with repeated exposure to a healthier body.
Augment Therapy is creating Augmented Reality games to assist patients needing rehabilitation therapies. Similar to Stroll, this paves to way to gamified healthcare.
“Thank You For Sharing Your World“ is a Virtual Reality animation currently on display in Tokyo that allows the user to experience what it feels like to be visually impaired. A controller, attached to a real cane, reacts to the user's movements and triggers visual metaphors of the world. As usual, Japanese creativity is very impactful and poetic.
Virtual Reality was tested as a way to teach brain tumor patients ways to cope with the stress induced by their conditions and the associated treatments. They could use mindfulness, breathing exercises, and “instant escape” experiences, and the results seem promising. Again, VR is so immersive that its effectiveness does not surprise me. 90% of patients found it worthwhile, and 60% have seen improvement in their daily lives.
Metaverse
Roblox, one of the leading Metaverses, is now available on beta on the Meta Quest and has reached 1 Million downloads this week. It’s unsurprising, as the VR community longs for successful open worlds. Let’s see if the usage holds as the time and hype pass!
Anything World is a massive database of 3D assets that supports most of the leading 3D engines, as well as Roblox. This is newsworthy: one of the significant issues facing creators is the need for technical skills to create, animate and import objects. This service removes that friction.
Related: Pixar, Adobe, Apple, Autodesk, and NVIDIA form Alliance for OpenUSD to drive open standards for 3D content. Indeed, when all models are in the same, open format, it will drive interoperability between the different Metaverses. Think .JPG, but for 3D!
Augmented Reality
Walmart expands its already-existing Augmented Reality application with the “View In Your Home“ experience on more than 7,000 products! Similar to Ikea Place, this usage of AR is a no-brainer. Immediate value for the brands and the customer while being easy to use and now with excellent quality.
A bit old, but the Pizza Hut AR Pacman game is very well thought and a clever use of the technology. Brand engagement, social media integration, impermanence linked to the box’ life time - it ticks all the boxes of a great AR experience.
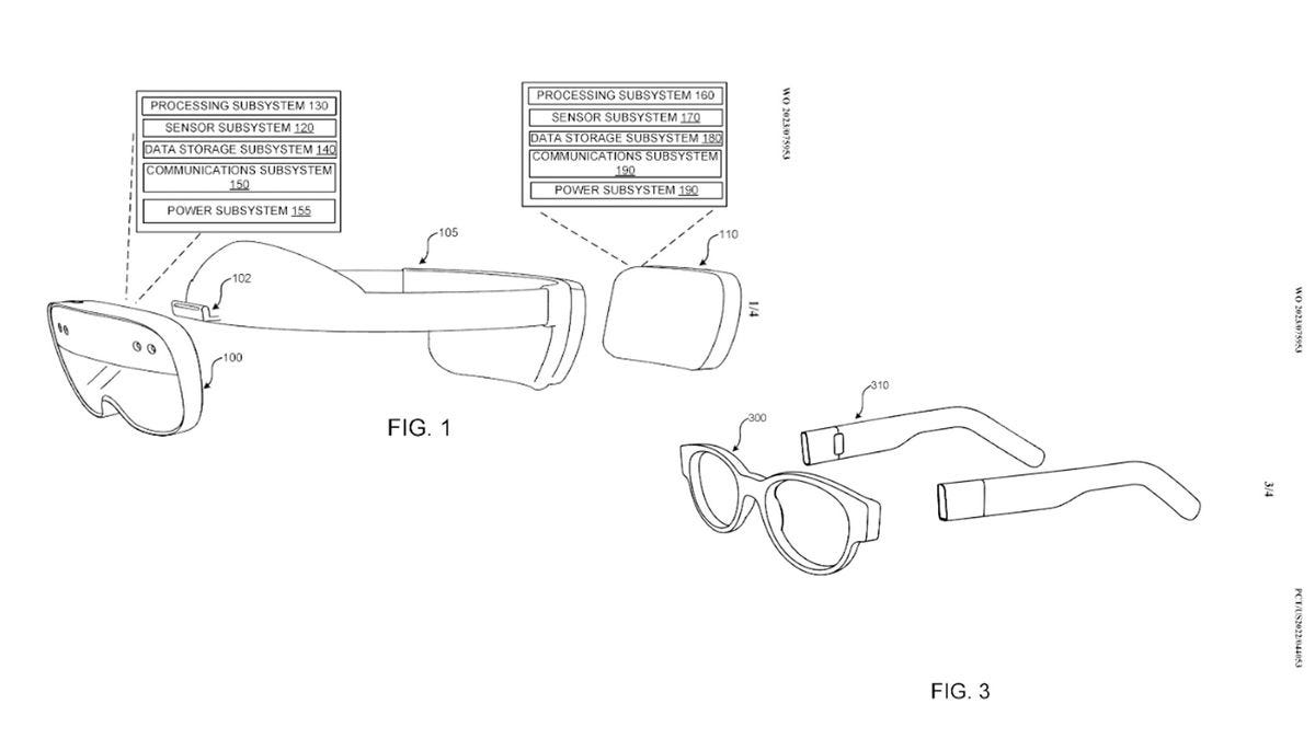
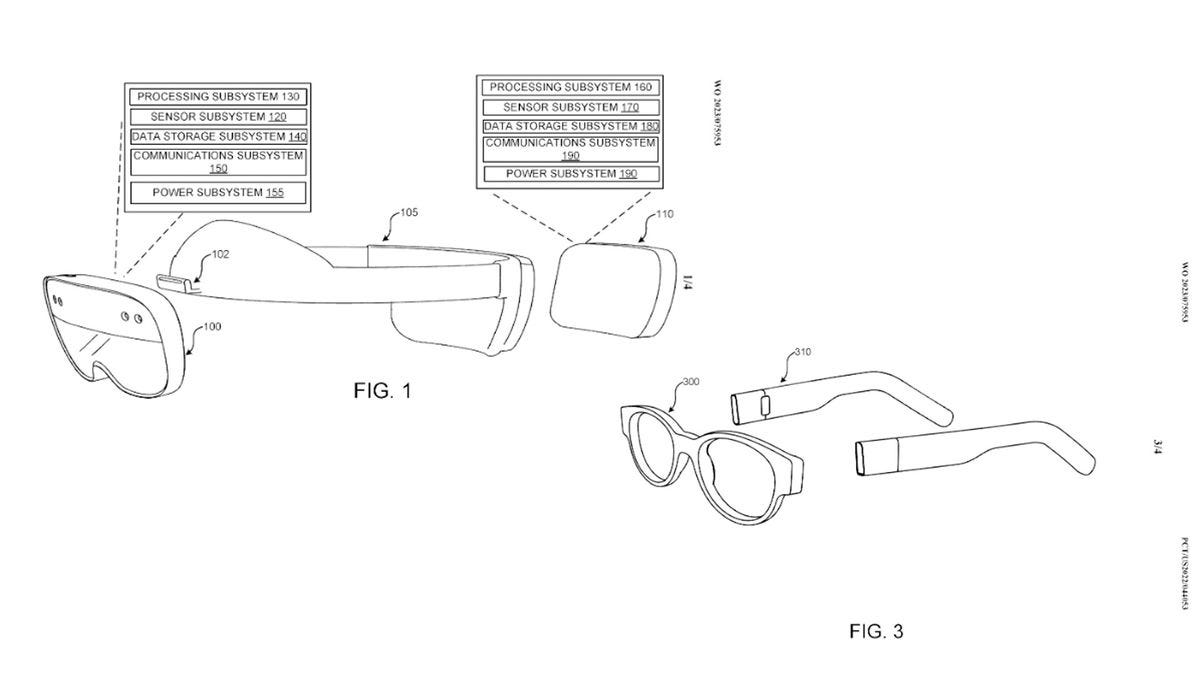
Microsoft has applied for a patent for a small form factor and modular headset. It looks similar to the Hololens 2. If pursued, this could be excellent news - remember, the Hololens 2 is still, to this date, one of the best headsets on the market.
By the way, it took me less than one hour to write this newsletter, thanks to a custom curation system I’ve been developing over the past couple of months. Interested in using it? Drop me a line!
From the Podcast
Every week, I’m teaming up with Guillaume Brincin and Sébastien Spas on the Lost In Immersion podcast. This week:
Stroll, already mentioned in the news above, seems very efficient in helping patients with Parkinson’s Disease. We loved that it’s the most straightforward solution that works the best!
Augmented Shadow is a poetic experience that blends video projection and motion tracking. Even if it’s a one-user experience, we love how they used perspectives to trick the attendees.
And finally, we discussed Meta’s Hardware and Software Strategy, especially with the announcement of 2 headset prototypes; one using a variable focal to enhance depth perception and the other improving the Mixed Reality passthrough quality. Definitely, Meta’s not dead. With the Quest 3 around the corner and their new software strategy, there are high hopes for Meta’s future.
Watch the podcast below, and tune in at 10 am UTC on Tuesdays on Twitch, and listen to the podcasts on Youtube, Spotify, Apple Podcasts, Google Podcasts, or Amazon!
Did this newsletter spark some ideas? There are a lot of ways we can work together:
A quick-fire, 30-minute brainstorm with me - book it here!
We can ideate, prototype, and build your experiences - contact us here!














